Zvierka pre testovanie ohybu G1095, spodná základňa
priamy dovoz z USA, tovar naskladníme zvyčajne do štyroch týždňov od dátumu objednania
Popis
- Zvierka určená pre troj a štvorbodové testovanie ohybu plastov, kovov, keramiky, trubiek a ďalších materiálov.
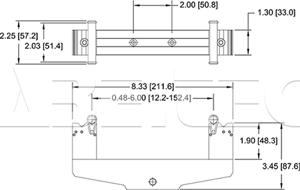
- Spodná základňa so šírkou 211,6 mm.
- Pravítko s dvojakou metrikou - v palcoch a milimetroch.
- Integrované koncové očko.
- Pojme široký rozsah veľkostí vzorky.
- Robustná konštrukcia.
- Kompatibilný s nasledujúcimi skúšobnými stojanmi: ESM303, ESM1500, TSFM500-DC, ES30, TSA750, TSC1000, TSF.
- Odporúčame použitie s motorizovanými stojanmi.
- Vzdialenosť valčekov 12,2 – 152,4 mm.
- Kapacita 2,5 kN.
- Hmotnosť 1,3 kg.
- Materiál krytu 2024 Al.
- Materiál bloku 303 SS.
- Materiál valčeka 416 SS, tvrdený.
- Balenie zahŕňa skrutky na montáž k testovaciemu stojanu, dva 10 mm valčeky a o-krúžok.
Táto rodina svoriek je navrhnutá pre troj a štvorbodové testovanie ohybu plastov, kovov, keramiky, trubiek, ai. K dispozícii sú dve veľkosti spodnej základne, horná nákovka a voliteľné priemery valčekov. Pre trojbodové testovanie sa používa spodná základňa s hornou nákova, pre štvorbodové testovanie zvoľte dve spodné základne. Zvierky sú vykonané v súlade s ASTM C393, C1161, D790 a súvisiacimi normami.
Základne majú pohyblivé bloky s niekoľkými kllínovými drážkami, akceptujúcimi niekoľko priemerov valčekov. 10 mm valčeky sú zahrnuté v balení, ale k dispozícii sú aj iné priemery valčekov.
Základne majú vyryté pravítko s dvojakou metrikou v palcoch a milimetroch. Integrované koncové očko uľahčuje montáž svoriek na skúšobné stojany či merač sily. Základne tiež zahŕňajú priechodné otvory a upevňovacie skrutky na priamu montáž na testovacie stojany.
Súvisiace produkty:
| Produkt | Kód |
|---|---|
| Spodná základňa, kapacita 10 kN | G1096 |
| Horná nákova, kapacita 10 kN | G1097 |
| Valčeky, priemer 1 mm, súprava štyroch kusov | AC1067 |
| Valčeky, priemer 2 mm, súprava štyroch kusov | AC1067-1 |
| Valčeky, priemer 5 mm, súprava štyroch kusov | AC1067-2 |
| Náhradná sada valčekov, priemer 10 mm, sada štyroch kusov | AC1067-3 |
Obsah balenia
Zvierka pre testovanie ohybu G1095, spodná základňa
Technické dáta (5)
Technické dáta na porovnanie Zvierka pre testovanie ohybu G1095, spodná základňa
| Názov parametra | Hodnota |
|---|---|
| Typ skúšobného prístroja | měření síly |
| Typ | svěrka |
| Kapacita silových prístrojov | 2500 N |
| Rozmery | 211.6 x 54.2 x 87.6 mm |
| Hmotnosť | 1.3 Kg |
Na stiahnutie (1)
Tu sú na stiahnutie doplňujúce dokumenty k Zvierka pre testovanie ohybu G1095, spodná základňa
Voliteľné príslušenstvo (4)
Tu nájdete voliteľné príslušenstvo, alternatívne a súvisiace produkty pre Zvierka pre testovanie ohybu G1095, spodná základňa
Alternatívny tovar (1)
Tu nájdete voliteľné príslušenstvo, alternatívne a súvisiace produkty pre Zvierka pre testovanie ohybu G1095, spodná základňa
Pridajte svoj komentár k Zvierka pre testovanie ohybu G1095, spodná základňa











